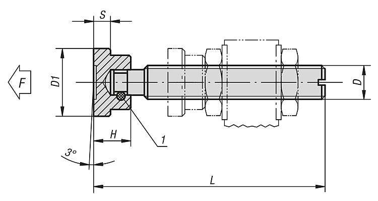
Śruby ze stopką dociskową

Kod towaru: TP0689
Kategoria:

Opis produktu

Materiał: Śruba i element dociskowy – stal automatowa.

 

 

Wersja: Śruba czarna.
Element dociskowy oksydowany.
Trzpień śruby i element dociskowy – utwardzane dyfuzyjnie.

 

 

Wskazówka dotycząca planu:

1) Kołek sprężysty